Cemented Carbide Valve Disk:
Introduction:
The tungsten carbide valve disk and body sleeves are widely used in the choke valve and control valve to control the fluid volume and pressure accurately. It’s required to have superior corrosion & erosion resistance and high precision control. The most popular grade for valve disk is GK05A, which has performed very well in application of valves.
Product Parameter



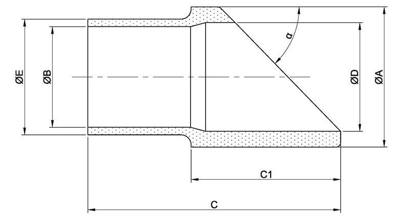
ΦA | ΦB | C | C1 | D | α° |
34.9 | 16.8 | 12.8 | 6.4 | 5.3 | 9° |
44.5 | 21.4 | 12.7 | 6.4 | 5.2 | 0° |
50.8 | 25.6 | 12.7 | 6.4 | 5.2 | 9° |
67.3 | 35.4 | 12.7 | 6.4 | 4.8 | 8.5° |
90.5 | 42.6 | 19.1 | 11.2 | 7.0 | 24° |

ΦA | ΦB | C | ΦD | ΦE | α |
44.45 | 31.75 | 79.756 | 34.29 | 36.5 | 45° |
Grade Offering:
The material information of grade GK05A is as follows:
Grades | Physical Properties | Areas of Application | Major application and characteristics | ||||
Hardness | Density | TRS | Corrosion | Erosion | Toughness | ||
HRA | g/cm3 | N/mm2 | C | E | T | ||
GK05A | 92.0-93.0 | 14.80-15.00 | ≥2450 | ▲ | ● | ■ | It is suitable to produce wear parts used for oil-immersed pump, valve point and valve seat due to excellent wear resistance and high toughness, |
● Recommended application area
■ Secondary application area
▲ Alternative application area
Product details:
Application: Cemented Carbide valve disk used in choke valve and control valve
Certification: ISO9001, ISO14001 etc
Material: Tungsten Carbide
Delivery date: 4~6 weeks
Market: Russia, North America
Our Advantages:
High precision and well-sealed
Excellent corrosion & erosion resistance
100% original raw material
Our Services:
Material inspection and approval
Dimension inspection and approval
Sample analysis service available
OEM and ODM accepted
Production Process:

Our Certification:

FAQ:
Q1: Visiting factory is allowed or not?
A: Yes, we welcome customers visiting our factory. Our factory is located Jiujiang city, Jiangxi province, China mainland.
Q2: Can you show me your production flow?
A: Pressing, sintering and grinding.
Q3: What kind of packing do you use?
A: Generally in plastic box and then carton.
Q4: However we also know once sinter hipped correctly it will be A00 B00 C00. So yes your designation of A02 B00 C00 will be OK.
A: Blanks made in grades with low percentage cobalt and fine grain size are sintered in HIP sintering furnaces. It gives better porosity.
Q5: What's the tolerance?
A: ISO-M tolerance or according to customer drawings.
Packaging & Delivery:
The product will be properly packed before shipmen to ensure that they will not be damaged when they arrive.

Shipping method is available by express such as DHL, FedEx and by air or by ocean.

Hot Tags: cemented carbide valve disk, China, suppliers, manufacturers, factory, customized










